湖南省成人高考2020成绩查询?
2023-08-31 来源:教育在线
湖南省成人高考2020成绩查询?社会飞速发展,面临升职就业等就业从业压力,提升自我优势是必不可少的,拥有一个高学历或好文凭也是找工作的关键,就业选择的范围也会更广,机会更多。学历是判断个人素质的重要条件之一,企业也重视高学历的员工。下面本小编为大家解答一下关于成人高考相关信息,希望对大家有所帮助!
成人高考有疑问、不知道如何选择主考院校及专业、不清楚成考当地政策,点击立即了解>>

湖南省成人高考2020成绩查询?
1、通过各省考试院查询成考成绩。考生可登录各省教育考试院查询成绩。
2、通过手机端查询成考成绩。各省的教育考试院都有自己的公众号,考生可关注相关公众号进行成考成绩查询。
3、通过报考机构老师查询。如果你成考报的机构,那么成考成绩也可以直接咨询你报考机构的老师。
查询流程:1.登录考试所在地的教育考试院网站进行查询。网址可以在自己的准考证上找到;
2.点击“成人高考”,接着找到当年的成人高考报名入口并点击;
3.点击“成考相关查询”,然后选择“成人高考成绩查询”并点击;
4.在“成考查询中心”点击“成考成绩查询”,输入身份证或者准考证、报名号即可查询。
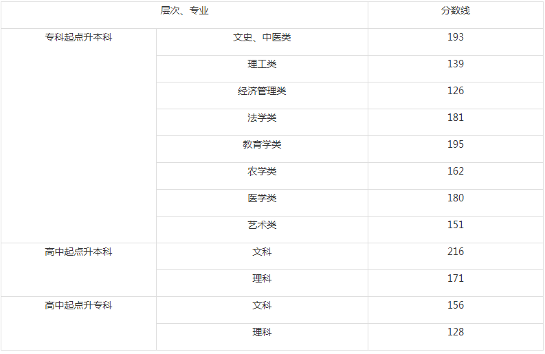
湖南省成人高考2020分数线

以上是关于成人高考的相关内容,考生可以此作为参考,具体以官方公告为准!考生如果想获取更多关于成考的相关资讯,如成人高考报名时间、考试时间、报考条件、备考知识、相关新闻等,敬请关注教育在线成人高考考试频道。
热门推荐:
成人高考有疑问、不知道如何选择主考院校及专业、不清楚成考当地政策,点击立即了解>>
推荐阅读:

· 











